2023-12-28 1254
日本在医学领域一直处于世界领先水平,历史上曾有多位日本学者获得过生理学、医学奖,同时日本医学院校都配套建设了附属医院,拥有丰富的临床训练基地资源,在就读期间就能为学生提供较多的实践机会。日本大学的「医学部」也是各类学部中顶尖的存在,一直都是备受瞩目。医学部的医学科也一度成为日本大学考试竞争中最热门的学科。

在日本,开设医学部的大学大多都是国公立大学和部分有很强经济实力的私立大学。根据日本文部科学省统计,目前日本有82所大学设置了医学部,其中国立大学42所,公立大学8所,私立大学31所。
国立大学 東京大学、東京医科歯科大学、京都大学、東北大学、大阪大学、北海道大学、名古屋大学、筑波大学、千葉大学、金沢大学、広島大学、神戸大学、山口大学、旭川医科大学、弘前大学、秋田大学、山形大学、群馬大学、新潟大学、富山大学、福井大学、山梨大学、信州大学、岐阜大学、浜松医科大学、三重大学、滋賀医科大学、鳥取大学、島根大学、岡山大学、徳島大学、香川大学、愛媛大学、高知大学、九州大学、佐賀大学、長崎大学、熊本大学、大分大学、宮崎大学、鹿児島大学、琉球大学
公立大学 札幌医科大学、福島県立医科大学、横浜市立大学、名古屋市立大学、京都府立医科大学、大阪市立大学、奈良県立医科大学、和歌山県立医科大学
私立大学 慶應義塾大学、順天堂大学、岩手医科大学、東北医科薬科大学、自治医科大学、獨協医科大学、埼玉医科大学、国際医療福祉大学、杏林大学、昭和大学、帝京大学、東京医科大学、東京慈恵会医科大学、東京女子医科大学、東邦大学、日本大学、日本医科大学、北里大学、聖マリアンナ医科大学、東海大学、金沢医科大学、愛知医科大学、藤田医科大学、大阪医科大学、関西医科大学、近畿大学、兵庫医科大学、川崎医科大学、久留米大学、産業医科大学、福岡大学
日本大学的医学部医学科,一般被设定为6年制;学生不仅要学习大量的专业知识,还需要锻炼实践能力。课程包括教养科目、基础医学、临床医学等,以通过国家医师考试为目标。 日本大学院的医学研究科一般会开设修士课程(博士前期课程,2年制)、博士后期课程(3年制)、博士课程(4年制)。 医学部医学科毕业之后的发展根据每个学生的意愿有所不同,大部分学生会选择继续在大学院攻读4年的博士课程或者接受初期临床研修。也有部分学生接受2年的初期临床研修或接受3年的后期研修(专门研修)之后再攻读博士课程。 首先,想在日本学医那你理工科一定要非常非常好,否则很难坚持下来。那么,外国学生想要考医学部医学科,会面临哪些困难呢? 关于留学生招生人数,一般各个学校官网都写着招收若干人。但是从每年实际参加考试的人数来看,医学部很少超过5个人。 比如东京大学留学生特别选考—“理科三类(医学部医学科)”,虽然募集要项写招收若干人,但实际上录取人数已经连续好几年“挂零”了。(第1種为私费留学生、第2種为日本归国生) 基本上所有接受私费留学生作为本科生入学的学校最基本要求是:日本留学考试(EJU留考),医学部要求的考试科目基本是:日语,理科(物理,生物,化学中选2科),数学(コース2)。 此外,还需要申请者提交英语考试成绩,比如东北大学。 ● EJU留考:日语(含记述)380分以上;基础学力(理科+数学)350分以上 ● 英语:TOEFL iBT 79+(不认可托福拼分) 满足出愿要求,顺利通过“材料审查”之后,还要面临最后的难关—校内考。 医学部医学科的考试内容包括“笔试+面试”;不同学校对于笔试科目的要求也不同;有的学校会是写小论文,有的学校仍然是数学、理科、英语等科目考试。 比如,大阪大学:小论文+面试。






国立大学的学费基本都是统一的,不会特别贵;也不会因为地区不同学费价格不一样,一年授业料是535,800日元,6年是3,214,800日元(约合人民币16万)。
▼ 东京大学学费

私立大学医学部学费各不相同,相比其他专业费用是比较高的。
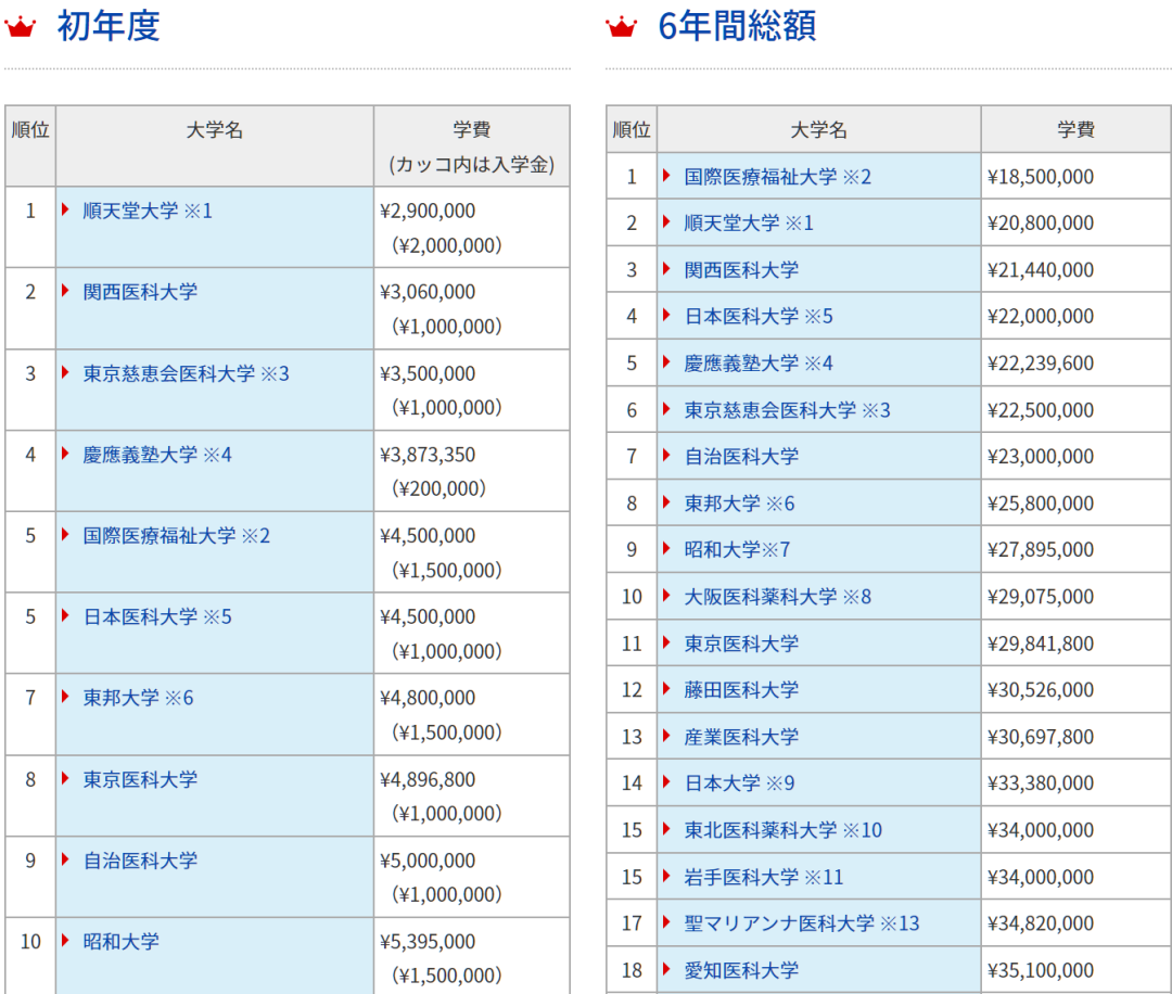
根据统计,在私立大学医学部中,川崎医科大学是最高的,6年合计4740万日元,约合人民币237万元;国际医疗福祉大学学费最低,6年合计1850万日元,约合人民币92.5万元。



而且,很多大学的医学部没有固定的教科书,所以每科都会有几本老师指定的书来作为参考,最便宜的有2~3千日元一本,最贵的可以1万多日元一本,书本费六年下来是一笔不可小觑的开支。总之,不管是在国内还是在日本,医学专业考学难度都是比较大的。日本国公立医学部医学科便宜但不好考,私立医学部相对来说稍微好考一些但就是学费较贵。所以无论是对成绩的要求,还是对经济的要求,同学们都要好好衡量自己是否合适,选择适合自己的留学方案。还有日本留学,日本就业,日本就职,日语培训,日本工作,日语能力考,日本劳务,赴日工作,日语学习相关的问题想了解的话,欢迎咨询~